Módulos de segurança digital de 8 saídas 5034-OB8S e 5034-OB8SXT
Para obter mais exemplos de diagramas de fiação para o 5034-OB8S e 5034-OB8SXT que
podem ser usados em aplicações de segurança funcional, consulte o Manual do usuário
dos módulos de E/S digital PointMax, publicação 5034-UM002. A configuração da fiação afeta
o nível de aplicação de segurança para o qual um módulo de E/S de segurança PointMax
é adequado.
Diagrama de fiação do 5034-OB8S e 5034-OB8SXT

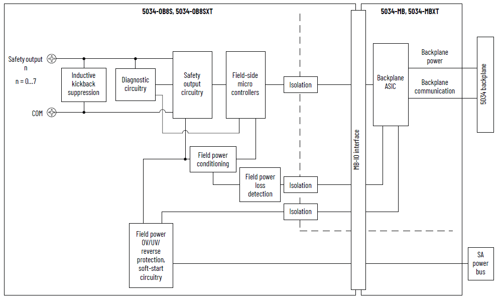
Diagrama de blocos de funções 5034-OB8S e 5034-OB8SXT

Atributo | 5034-OB8S, 5034-OB8SXT |
|---|---|
Faixa de tensão no estado energizado | 17,5 a 30 Vcc |
Queda de tensão no estado ligado, máx. | 0,5 Vcc a 1 A |
Tensão no estado Desenergizado, máx. | 5 Vcc com carga mínima de 10 kΩ |
Corrente de fuga em estado Desenergizado, por ponto, máx. | 0,5 mA |
Classificação da corrente de saída por ponto, máx. | 1 A a 40 °C (104 °F) 0,5 A a 60 °C (140 °F) |
Classificação da corrente de saída por módulo, total | 8 A a 40 °C (104 °F) 4 A a 60 °C (140 °F) |
Limite de capacitância de campo permitido por saída, máx. | 100 nF |
Limite de indutância de campo permitido por saída, máx. | 1,2 H a 0,5 A |
Tensão de fixação de saída para carga indutiva quando
desligada, máx. | 53 Vcc |
Corrente de surto por ponto, máx. | 2,4 A por 50 ms, repetível a cada 2 s A corrente nominal do módulo não pode exceder 10 A. |
Classe de segurança (1) | Até e inclusive a Categoria 4 / PL e conforme a EN ISO
13849-1, SIL 3 conforme a IEC 61508 |
SRT | 6 ms |
Largura de pulso do teste de segurança, máx. | 0,7 ms |
Período de pulso do teste de segurança, típico | 512 ms |
Diagnóstico de detecção de carga aberta | Estado Desenergizado (pode ser habilitado manualmente) |
Detecção de sobrecarga de saída | Sim, 4 A típico |
Detecção de curto-circuito da saída para nível alto | Sim, no modo de Teste de pulso de segurança |
Detecção de curto-circuito entre canais | Sim, no modo de Teste de pulso de segurança |
Detecção de sobretemperatura do módulo | Sim |
Proteção contra curto-circuito da saída para o
terra/sobrecarga | Sim |
Proteção contra tensão reversa da fonte SA | Sim |
Proteção contra sobretensão da fonte de alimentação SA,
máx. | 60 Vcc |
(1) Consulte o manual do usuário dos módulos de E/S digital
PointMax, publicação 5034-UM002, para
saber os níveis de adequação da aplicação de segurança e os
dados de segurança para os módulos de segurança. | |
Atributo | 5034-OB8S, 5034-OB8SXT |
|---|---|
Saídas por módulo | 8 |
Tipo de saída | Sourcing |
Tensão nominal de alimentação de operação da alimentação
SA | 24 Vcc |
Faixa de tensão de operação da alimentação SA | 18 a 30 Vcc |
Corrente de alimentação SA, nom. | 8,1 A a 40 °C (104 °F) 4,1 A a 60 °C (140 °F) |
Corrente de alimentação SA, máx. | 8,1 A a 40 °C (104 °F) 4,1 A a 60 °C (140 °F) |
Corrente de alimentação SA sem carga | 20 mA a 24 Vcc |
Dissipação de energia, máx. | 2,6 W a 40 °C (104 °F) 1,4 W a 60 °C (140 °F) |
Dissipação térmica, máx. | 8,87 BTU/h a 40 °C (104 °F) 4,78 BTU/h a 60 °C (140 °F) |
Tensão de isolamento | 250 V (contínuo), Tipo de isolamento básico, do sistema para
o campo Nenhum isolamento entre as portas de saída e alimentação
SA Nenhum isolamento entre as portas de saída individuais |
Suporte de remoção e inserção sob alimentação | Sim |
CIP sync | Sim, somente secundário, relógio comum |
Codificação eletrônica | Codificação eletrônica via software de programação |
Posições das teclas do borne removível (slot) | 1, 5, 14 |
Bornes removíveis compatíveis | 5034-RTB18, 5034-RTB18S |
Categoria de fiação (1) | 2 - Portas de sinal 2 - Portas de alimentação |
Especificação da fiação | Consulte Especificações de fiação para bornes removíveis nos
dados técnicos das especificações do sistema PointMax I/O,
publicação 5034-TD001 |
Indicadores | 1 indicador de status do módulo verde/vermelho 1 indicador de status de alimentação SA verde/vermelho 8 indicadores de status de E/S amarelos/vermelhos |
Dimensões (AxLxP), aprox. | 123,6 x 15,0 x 66,4 mm (4,87 x 0,59 x 2,61 pol.) |
Peso, aprox. | 46,0 g (1,62 oz.) – 5034-OB8S 49,0 g (1,73 oz.) – 5034-OB8SXT |
Tipo de gabinetes | Nenhum (Estilo aberto) |
Código de temperatura norte americano | T4 |
Código de temperatura UKEX/ATEX | T4 |
Código de temperatura IECEx | T4 |
(1) Use essas informações de categoria do condutor para
planejar o roteamento dos cabos. Consulte Orientação sobre
fiação de automação industrial e aterramento, publicação
1770-4.1
(Industrial Automation Wiring and Grounding Guidelines). Use
essas informações de Categoria de condutor para planejar o
roteamento de condutores conforme descrito no Manual de
instalação no sistema apropriado. | |
Dê sua opinião