Módulos analógicos RTD/TC isolados de 4 entradas 5034-IRT4I e 5034-IRT4IXT
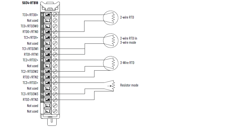
Diagrama de fiação do 5034-IRT4I e 5034-IRT4IXT – Modo RTD

Diagrama de fiação do 5034-IRT4I e 5034-IRT4IXT – Modo termopar

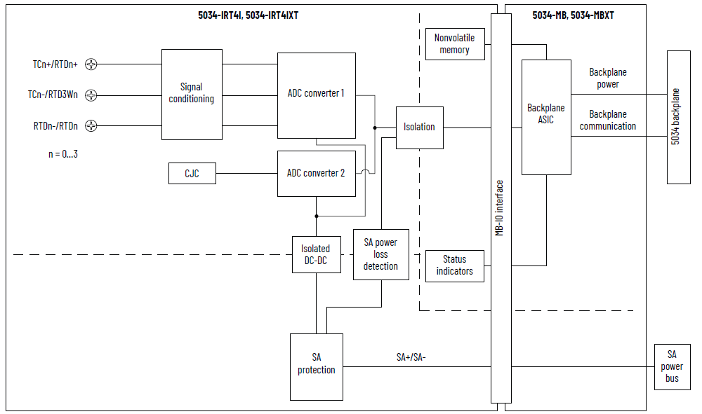
Diagrama de blocos de funções 5034-IRT4I e 5034-IRT4IXT

Atributo | 5034-IRT4I, 5034-IRT4IXT |
|---|---|
Faixa de entrada, resistivo | 1 a 500 Ω 2 a 1000 Ω 4 a 2000 Ω 8 a 4000 Ω |
Tipo de entrada = RTD | 100, 200, 500, 1000 Ω platina, alfa = 385 100, 200, 500, 1000 Ω platina, alfa = 3916 120 Ω níquel, alfa = 672 100, 120, 200, 500 Ω níquel, alfa = 618 10 Ω cobre 427 |
Faixa de entrada, termopar/milivolt | ±100 mV |
Tipo de entrada = termopar | B, C, D, E, J, K, N, R, S, T, TXK/XK(L) |
Impedância da entrada | Termopar/millivolt: >1 MΩ Sensor de temperatura de resistência: >1 MΩ |
Tensão de modo comum (canal para canal) | 250V (contínuos), isolamento básico |
Método de conversão do módulo | ADC sigma-delta multiplexado de 24 bits |
Resolução, RTD/resistivo Com filtro de encaixe de 50/60 Hz | 16 bits |
Resolução, termopar/milivolt Com filtro de encaixe de 50/60 Hz | 16 bits |
Corrente de excitação do sensor de temperatura de
resistência | 250 μA para a faixa de 1000, 2000, 4000 Ω 500 μA para a faixa de 500 Ω |
Linearização de termopar | ITS-90 |
Modo CJ | CJC integrada, CJC de borne removível, CJC remota |
Entradas CJC integradas (apenas para uso no modo termopar) | Sensores de CJC Quatro termistores integradores em 5034-IRT4I e
5034-IRT4IXT Vishay NTCS0805E3103FHT |
Precisão do sensor de CJC integrado | ±3.0 °C, 0 °C < T amb < 60 °C (±5,4 °F, 32 °F
< Tamb < 140 °F)±4.0 °C, -25 °C < T amb < 0 °C (±7,2 °F, -13
°F < Tamb < 32 °F) |
Entradas da CJC do borne removível (apenas para uso no modo termopar) | Sensores de CJC Quatro termistores integradores em 5034-RTBT e 5034-RTBTS Conectividade true earth TE 10K3A1A |
Precisão do sensor de CJC no borne removível | ±0.6 °C, 0 °C < T amb < 60 °C (±1,1 °F, 32 °F
< Tamb < 140 °F)±1.2 °C, -25 °C < T amb < 0 °C (±2,2 °F, -13
°F < Tamb < 32 °F) |
Método de conversão de CJC | SAR de 12 bits |
Precisão de calibração a 25 °C (77 °F) | Termopar/milivolt: 0,1% da escala completa com filtro de
50/60 Hz Sensor de temperatura de resistência: 500 Ω, 1 kΩ, 2 kΩ,
faixa de 4 kΩ, escala completa de 0,1% com filtro de 50/60
Hz |
Precisão de calibração acima da faixa completa de
temperatura -25 a +60 °C (-13 a +140 °F) | Termopar/milivolt: 0,25% da escala completa com filtro de
50/60 Hz Sensor de temperatura de resistência: 500 Ω, 1 kΩ, 2 kΩ,
faixa de 4 kΩ, escala completa de 0,25% com filtro de 50/60
Hz |
Tempo de varredura mais rápido por canal | 0,36 ms |
Tempo de varredura mais rápido por módulo | 0,36 ms |
Seleções de filtro de encaixe de entrada (Hz) | 10, 20, 50, 60 (Padrão), 100, 200, 500, 1000, 2500, 5000 |
Filtro de entrada de hardware | 1 kHz |
Filtragem digital de entrada | Atraso de primeira ordem, 0 ms (Padrão) 0 a 32.767 ms (32,767 s) |
Relação de rejeição de ruído no modo normal | 65 dB a 50/60 Hz, dependente do filtro de encaixe |
Tempo de detecção de fio interrompido | <200 ms |
Proteção contra sobretensão, máx. | 32 Vcc |
Escala para unidades de engenharia | Sim |
Amostragem de canal em tempo real | Sim |
Registro de data e hora contínuo de entradas | Sim |
Formato de dados | IEEE 754 Ponto flutuante de 32 bits |
Tipos de sensores RTD (1) | Faixa de temperatura |
|---|---|
100, 200, 500, 1.000 Ω PT 385 | -200 a +870 °C -328 a +1598 °F 73 a 1143 K 132 a 2058 °R |
100, 200, 500, 1.000 Ω PT 3916 | -200 a +630 °C -328 a +1166 °F 73 a 903 K 132 a 1626 °R |
10 Ω Cu 427 | -200 a +260 °C -328 a +500 °F 73 a 533 K 132 a 960 °R |
120 Ω Ni 672 | -80 a +320 °C -112 a +608 °F 193 a 593 K 348 a 1068 °R |
100, 120, 200, 500 Ω Ni 618 | -60 a +250 °C -76 a +482 °F 213 a 523 K 384 a 942 °R |
(1) Cada tipo de sensor é compatível com todas as faixas de
temperatura listadas. | |
Tipo de termopar | Faixa de temperatura |
|---|---|
Termopar, tipo B | 21 a 1820 °C 68 a 3308 °F 293 a 2093 K 528 a 3768 °R |
Termopar, tipo C | 0 a 2315 °C (32 a 4199 °F) 273 a 2588 K 492 a 4659 °R |
Termopar, tipo D | 0 a 2315 °C (32 a 4199 °F) 273 a 2588 K 492 a 4659 °R |
Termopar, tipo E | -270 a +1000 °C -454 a +1832 °F 3 a 1273 K 6 a 2292 °R |
Termopar, tipo J | -210 a +1200 °C -346 a +2192 °F 63 a 1473 K 114 a 2652 °R |
Termopar, tipo K | -270 a +1372 °C -454 a +2502 °F 3 a 1645 K 6 a 2961 °R |
Termopar, tipo N | -270 a +1300 °C -454 a +2372 °F 3 a 1573 K 6 a 2832 °R |
Termopar, tipo R | -50 a +1768 °C -58 a +3215 °F 223 a 2041 K 402 a 3674 °R |
Termopar, tipo S | -50 a +1768 °C -58 a +3215 °F 223 a 2041 K 402 a 3674 °R |
Termopar, tipo T | -270 a +400 °C -454 a +752 °F 3 a 673 K 6 a 1212 °R |
Termopar tipo TXK/XK(L) | -200 a +800 °C -328 a +1472 °F 73 a 1073 K 132 a 1932 °R |
Atributo | 5034-IRT4I, 5034-IRT4IXT |
|---|---|
Número de entradas | 4 canais (4 grupos isolados) |
Tensão de alimentação SA, nom. | 24 Vcc |
Faixa de tensão da alimentação SA | 10 a 30 Vcc |
Corrente de alimentação SA, nom. | 50 mA |
Corrente de alimentação SA, máx. | 0,1 A |
Corrente de alimentação SA sem carga | 11 mA |
Proteção contra polaridade reversa do lado do campo (SA) | Sim |
Dissipação de energia, máx. (1) | 0,42 W |
Dissipação térmica, máx. (1) | 1,43 BTU/h |
Tensão de isolação | 250 V (contínuo), Tipo de isolamento básico, do sistema para
o campo 250 V (contínuo), tipo de isolamento básico, portas de
entrada e alimentação SA 250V (contínua), tipo de isolamento básico, entre portas de
entrada individuais |
Calibração | Calibrado de fábrica Calibração manual compatível, consulte o Manual do usuário
dos Módulos de E/S Analógica PointMax, publicação 5034-UM003 |
Suporte de remoção e inserção sob alimentação | Sim |
CIP sync | Sim, somente secundário, relógio comum |
Codificação eletrônica | Codificação eletrônica via software de programação |
Posições das teclas do borne removível (slot) | 2, 7, 10 |
Bornes removíveis compatíveis | 5034-RTB18, 5034-RTB18S, 5034-RTBT, 5034-RTBTS Para ajudar a obter melhor precisão, use os termistores CJC
que são integrados no 5034-RTBT e 5034-RTBTS. |
Categoria de fiação (2) | 2 - Portas de sinal 2 - Portas de alimentação |
Especificação da fiação | Consulte Especificações de fiação para bornes removíveis nos
dados técnicos das especificações do sistema PointMax I/O,
publicação 5034-TD001 |
Indicadores | 1 indicador de status do módulo verde/vermelho 1 indicador de status de alimentação SA verde/vermelho 4 indicadores de status de E/S amarelos/vermelhos |
Dimensões (AxLxP), aprox. | 123,6 x 15,0 x 66,4 mm (4,87 x 0,59 x 2,61 pol.) |
Peso, aprox. | 45,0 g (1,59 oz.) – 5034-IRT4I 48,0 g (1,69 oz.) – 5034-IRT4IXT |
Tipo de gabinetes | Nenhum (Estilo aberto) |
Código de temperatura norte americano | T4 |
Código de temperatura UKEX/ATEX | T4 |
Código de temperatura IECEx | T4 |
(1) O valor é medido a 60 °C (140 °F). A dissipação de
energia varia de acordo com a temperatura. (2) Use essas informações de categoria do condutor para
planejar o roteamento dos cabos. Consulte a Orientação sobre
fiação de automação industrial e aterramento, publicação
1770-4.1
(Industrial Automation Wiring and Grounding Guidelines). Use
essas informações de Categoria de condutor para planejar o
roteamento de condutores conforme descrito no Manual de
instalação no sistema apropriado. | |
Dê sua opinião