Modules RTD/TC isolés à 4 entrées analogiques 5034-IRT4I et 5034-IRT4IXT
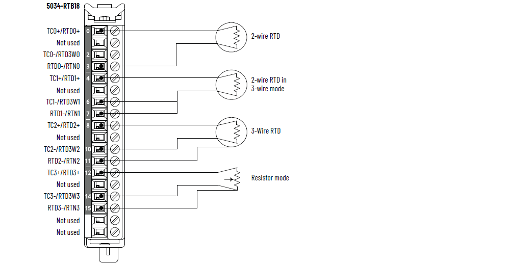
Schéma de câblage des modèles 5034-IRT4I et 5034-IRT4IXT – Mode sonde de
température

Schéma de câblage des modèles 5034-IRT4I et 5034-IRT4IXT – Mode
Thermocouple

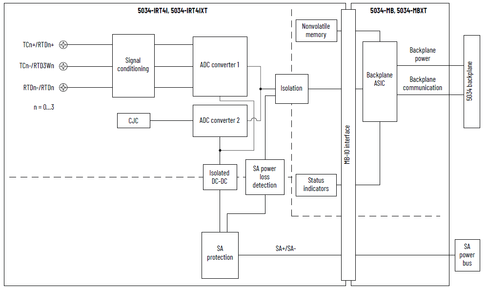
Schéma fonctionnel des modèles 5034-IRT4I et 5034-IRT4IXT

Attribut | 5034-IRT4I, 5034-IRT4IXT |
|---|---|
Plage d'entrées, résistives | 1 à 500 Ω 2 à 1000 Ω 4 à 2000 Ω 8 à 4000 Ω |
Type d’entrée, RTD | 100, 200, 500, 1 000 Ω platine, alpha = 385 100, 200, 500, 1 000 Ω platine, alpha = 3 916 120 Ω nickel, alpha = 672 100, 120, 200, 500 Ω nickel, alpha = 618 10 Ω cuivre 427 |
Plage d’entrées, thermocouple/millivolt | ±100 mV |
Type d’entrée, thermocouple | B, C, D, E, J, K, N, R, S, T, TXK/XK (L) |
Impédance d’entrée | Thermocouple/millivolt : > 1 MΩ Sonde de température : > 1 MΩ |
Tension en mode commun (entre voies) | 250 V (permanente), isolation de base |
Méthode de conversion du module | Sigma-delta, ADC multiplexé 24 bits |
Résolution, sonde de température/résistif Au filtre réjecteur 50/60 Hz | 16 bits |
Résolution, thermocouple/millivolt Au filtre réjecteur 50/60 Hz | 16 bits |
Courant d’excitation sonde de température | 250 μA pour les gammes 1 000, 2 000, 4 000 Ω 500 μA pour la gamme 500 Ω |
Linéarisation de thermocouple | ITS-90 |
Mode CJ | Compensation de soudure froide incorporée, compensation de
soudure froide du bornier débrochable, compensation de soudure
froide décentralisée |
Entrées de compensation de soudure froide incorporée (pour le mode thermocouple uniquement) | Capteurs de CSF Quatre thermistances embarquées dans les modèles 5034-IRT4I
et 5034-IRT4IXT Vishay NTCS0805E3103FHT |
Précision du capteur de compensation de soudure froide
incorporée | ±3,0 °C, 0 °C < T amb < 60 °C (±5,4 °F, 32 °F
< Tamb < 140 °F)±4,0 °C, -25 °C < T amb < 0 °C (±7,2 °F,
-13 °F < Tamb < 32 °F) |
Entrées de compensation de soudure froide du bornier
débrochable (pour le mode thermocouple uniquement) | Capteurs de CSF Quatre thermistances embarquées dans les modèles 5034-RTBT et
5034-RTBTS Connectivité TE 10K3A1A |
Précision du capteur de compensation de soudure froide du
bornier débrochable | ±0,6 °C, 0 °C < T amb < 60 °C (±1,1 °F, 32 °F
< Tamb < 140 °F)±1,2 °C, -25 °C < T amb < 0 °C (±2,2 °F,
-13 °F < Tamb < 32 °F) |
Méthode de conversion de compensation de soudure froide | SAR 12 bits |
Précision après étalonnage à 25 °C (77 °F) | Thermocouple/millivolt : 0,1 % de la pleine échelle avec
filtre 50/60 Hz Sonde de température : plage 500 Ω, 1 kΩ, 2 kΩ, 4 kΩ, pleine
échelle 0,1 % avec filtre 50/60 Hz |
Précision après étalonnage sur toute la plage de
températures –25 à +60 °C (–13 à +140 °F) | Thermocouple/millivolt : 0,25 % de la pleine échelle avec
filtre 50/60 Hz Sonde de température : plage 500 Ω, 1 kΩ, 2 kΩ, 4 kΩ, pleine
échelle 0,25 % avec filtre 50/60 Hz |
Temps de scrutation le plus rapide par voie | 0,36 ms |
Temps de scrutation le plus rapide par module | 0,36 ms |
Sélections de filtre réjecteur d’entrée (Hz) | 10, 20, 50, 60 (valeur par défaut), 100, 200, 500, 1 000,
2 500, 5 000 |
Filtre amont matériel | 1 kHz |
Filtre numérique d’entrée | Retard de premier ordre, 0 ms (valeur par défaut) 0 à 32 767 ms (32,767 s) |
Taux de réjection du bruit en mode normal | 65 dB à 50/60 Hz, dépendant du filtre réjecteur |
Temps de détection de fil déconnecté | < 200 ms |
Protection contre les surtensions, max. | 32 V c.c. |
Mise à l’échelle en unités procédé | Oui |
Échantillonnage de voie en temps réel | Oui |
Horodatage répétitif des entrées | Oui |
Format des données | IEEE 754 Virgule flottante 32 bits |
Types de détecteur à sonde de température (1) | Plage de température |
|---|---|
100, 200, 500, 1 000 Ω PT 385 | -200 à +870 °C -328 à +1 598 °F 73 à 1 143 K 132 à 2 058 °R |
100, 200, 500, 1 000 Ω PT 3 916 | -200 à +630 °C -328 à +1 166 °F 73 à 903 K 132 à 1 626 °R |
10 Ω Cu 427 | -200 à +260 °C -328 à +500 °F 73 à 533 K 132 à 960 °R |
120 Ω Ni 672 | -80 à +320 °C -112 à +608 °F 193 à 593 K 348 à 1 068 °R |
100, 120, 200, 500 Ω NI 618 | -60 à +250 °C -76 à +482 °F 213 à 523 K 384 à 942 °R |
(1) Chaque type de détecteur prend en charge toutes les
plages de température répertoriées. | |
Type de thermocouple | Plage de température |
|---|---|
Thermocouple type B | 21 à 1 820 °C 68 à 3 308 °F 293 à 2 093 K 528 à 3 768 °R |
Thermocouple type C | 0 à 2 315 °C 32 à 4 199 °F 273 à 2 588 K 492 à 4 659 °R |
Thermocouple type D | 0 à 2 315 °C 32 à 4 199 °F 273 à 2 588 K 492 à 4 659 °R |
Thermocouple type E | -270 à +1 000 °C -454 à +1 832 °F 3 à 1 273 K 6 à 2 292 °R |
Thermocouple de type J | -210 à +1 200 °C -346 à +2 192 °F 63 à 1 473 K 114 à 2 652 °R |
Thermocouple type K | -270 à +1 372 °C -454 à +2 502 °F 3 à 1 645 K 6 à 2 961 °R |
Thermocouple type N | -270 à +1 300 °C -454 à +2 372 °F 3 à 1 573 K 6 à 2 832 °R |
Thermocouple type R | -50 à +1 768 °C -58 à +3 215 °F 223 à 2 041 K 402 à 3 674 °R |
Thermocouple type S | -50 à +1 768 °C -58 à +3 215 °F 223 à 2 041 K 402 à 3 674 °R |
Thermocouple type T | -270 à +400 °C -454 à +752 °F 3 à 673 K 6 à 1 212 °R |
Thermocouple type TXK/XK(L) | -200 à +800 °C -328 à +1 472 °F 73 à 1 073 K 132 à 1 932 °R |
Attribut | 5034-IRT4I, 5034-IRT4IXT |
|---|---|
Nombre d’entrées | 4 voies (4 groupes isolés) |
Tension d’alimentation SA, nom. | 24 V c.c. |
Plage de tension d’alimentation SA | 10 à 30 V c.c. |
Courant de l’alimentation SA, nom. | 50 mA |
Courant de l’alimentation SA, max. | 0,1 A |
Courant de l’alimentation SA sans charge | 11 mA |
Protection contre l’inversion de polarité SA | Oui |
Dissipation de puissance, max. (1) | 0,42 W |
Dissipation thermique, max. (1) | 1,43 BTU/h |
Tension d’isolement | 250 V (permanent), type d'isolement de base, système vers
terrain 250 V (permanente), type d’isolement de base, alimentation SA
et ports d’entrée 250 V (permanente), type d’isolement de base, entre les ports
d’entrée individuels |
Étalonnage | Étalonné en usine Étalonnage manuel pris en charge, consultez la
publication 5034-UM003,
« PointMax Analog I/O Modules User Manual » |
Prise en charge du retrait et de l’insertion sous tension | Oui |
CIP Sync | Oui, horloge ordinaire esclave uniquement |
Détrompage électronique | Détrompage électronique via un logiciel de programmation |
Positions de détrompage du bornier débrochable (logement) | 2, 7, 10 |
Bornier débrochable pris en charge | 5034-RTB18, 5034-RTB18S, 5034-RTBT, 5034-RTBTS Pour obtenir une plus grande précision, utilisez les
thermistances de compensation de soudure froide qui sont
intégrées dans les modèles 5034-RTBT et 5034-RTBTS. |
Catégorie de câblage (2) | 2 - Ports de signal 2 - Ports d’alimentation |
Caractéristique du câblage | Reportez-vous aux caractéristiques de câblage pour les
borniers débrochables dans la publication 5034-TD001,
« Caractéristiques du système PointMax I/O Données
techniques » |
Indication | 1 voyant d’état du module vert/rouge 1 voyant d’état de l’alimentation SA vert/rouge 4 voyants d’état d’E/S jaunes/rouges |
Dimensions approx. (H x L x P) | 123,6 x 15,0 x 66,4 mm (4,87 x 0,59 x 2,61 in.) |
Poids, approx. | 45,0 g (1,59 oz.) – 5034-IRT4I 48,0 g (1,69 oz.) – 5034-IRT4IXT |
Type de boîtier | Aucun (type ouvert) |
Code de température nord-américain | T4 |
Code de température UKEX/ATEX | T4 |
Code de température IECEx | T4 |
(1) La valeur est mesurée à 60 °C (140 °F). La dissipation de
puissance varie en fonction de la température. (2) Utilisez cette information de catégorie de conducteur
pour planifier l’acheminement des fils. Consultez la
publication 1770-4.1,
« Industrial Automation Wiring and Grounding Guidelines ».
Utilisez cette information sur la catégorie de conducteur
pour planifier l’acheminement des conducteurs, tel que
décrit dans la notice d’installation de niveau système
appropriée. | |
Fournir une réponse